A Canyon reformulou por completo a Lux, a bicicleta que venceu a Taça do Mundo em XC, apresentando um quadro excecionalmente leve, uma geometria melhorada e uma cinemática aprimorada… a um preço imbatível! Testámos uma das configurações disponíveis, a terceira da gama, equipada com SRAM X0, e acreditamos que há muitas razões para pensar que esta bicicleta pode ser um sucesso de vendas. Resumimos estes motivos nestes dez pontos.

1. QUADRO NOVO E MUITO LEVE
A primeira razão seria o seu novo quadro, incrivelmente leve e, como veremos mais à frente, presente em todas as versões desta nova bicicleta, utilizando a mesma fibra de carbono de elevada qualidade. De facto, torna-se um dos quadros de suspensão total mais leves do mercado, pesando apenas 1.480g sem o amortecedor, o que representa uma redução de 55 gramas face ao quadro da geração anterior na sua melhor versão.

Com este quadro, a Canyon consegue uma montagem topo de gama que pesa 9,8 kg. A título de exemplo, a bicicleta que testámos, a terceira da gama, equipada com SRAM XO com medidor de potência e suspensão RockShox Select+, pesa 11,2 kg no tamanho M.
Além de ser leve, este quadro também apresenta uma traseira notavelmente rígida, tornando-o incrivelmente responsivo na pedalada e preciso nas descidas.
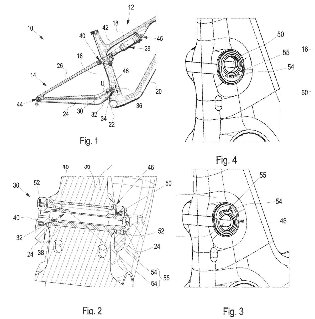
2. MELHORIAS NA UTILIDADE E MANUTENÇÃO
O segundo motivo são as melhorias na manutenção e usabilidade deste novo quadro. Para facilitar a manutenção, foram incorporados anéis de retenção para fixar os rolamentos do amortecedor, tornando a sua inspeção ou substituição mais fácil.


Todos os parafusos estão expostos e ao alcance, facilitando a manutenção.

A escora direita está mais protegida contra impactos da corrente e, além disso, o novo quadro abandona o obsoleto sistema de travagem flat mount e incorpora fixações Post Mount, que isolam ainda mais a travagem da flexão traseira.


Vem de fábrica com disco traseiro de 160 mm, mas está disponível um adaptador de 180 mm. O quadro possui cablagem interna e acomoda pneus até 2,5" e espigões telescópicos com até 150 mm de curso.


Incorpora batentes de direção, com o sistema Impact Protection Unit, que foi redesenhado, para evitar danos no quadro em caso de queda, e em termos de armazenamento, possibilita usar dois bidons de 750ml em todos os tamanhos e possui roscas para fixação no tubo superior, para prender uma ferramenta multifuncional, como nesta configuração, uma pequena bolsa de armazenamento ou uma câmara de ar de TPU e um kit de cartucho de CO2, disponíveis como peças sobressalentes.


3. MAIS CURSO
Vamos ao terceiro motivo. A nova Lux World Cup tem mais curso disponível (no sistema de amortecimento), graças a um novo design cinemático. O sistema continua a ser um design monopivô sem articulação secundária, utilizando escoras flexíveis - o sistema mais comum atualmente nas bicicletas de XC. No entanto, a nova Lux World Cup tem agora 110 mm de curso traseiro, complementado por suspensões com 120 mm, sendo também compatível com 130 mm. Isto representa mais 10 mm de curso em cada roda em comparação com o modelo atual.


E não só o curso da suspensão aumentou, como a cinemática evoluiu e, graças a um novo design dos links e dos pontos de ancoragem, oferece um comportamento do sistema de amortecimento mais linear, menos progressivo do que o da anterior Lux. Testámos esta bicicleta e comprovámos que este novo design cinemático torna o amortecedor traseiro mais utilizável.

Mesmo com um SAG moderado de cerca de 20%, é mais fácil do que antes tirar partido do maior curso da suspensão, com uma condução orientada para a performance e competições de XC. Na prática, isto proporciona uma sensação mais direta e uma excelente absorção de impactos fortes.

4. NOVA GEOMETRIA
O quarto ponto a destacar é a nova geometria da bicicleta. A Lux World Cup que conhecíamos caracterizava-se por medidas clássicas, com uma direção vertical e relativamente curta, o que a tornava boa escaladora e ágil, mas também um pouco instável nas descidas. Os ciclistas da equipa Canyon Collective pediram à marca uma bicicleta mais adequada às maiores exigências técnicas das descidas e que, de um modo geral, lhes permitisse encarar as descidas com mais confiança, possibilitando-lhes descansar mais e recuperar fisicamente.

A resposta da marca materializa-se na nova Lux, onde a alteração mais evidente é o ângulo do tubo da direção, que passa de 68,5 para 66 graus - uma alteração significativa que é também em grande parte responsável por uma distância entre eixos consideravelmente maior, quatro centímetros a mais, atingindo 1.185 cm no tamanho M. Passámos de uma das bicicletas mais curtas do segmento para uma com um comprimento considerável. O alcance (reach) altera-se muito menos, aumentando apenas 5 mm, e o eixo pedaleiro é rebaixado 4 mm, além do comprimento da escora aumentar 5 mm, para 43,5 cm.
Tudo isto se traduz numa bicicleta com muito mais equilíbrio e estabilidade, mas não estamos a falar de medidas extremas. Agora, encontramos um comportamento verdadeiramente equilibrado; a bicicleta não é desajeitada, move-se com considerável agilidade em curvas sinuosas e mostra-se direta e responsiva nas subidas, também graças, como já referimos, à grande rigidez da secção traseira.
5. ANTI-SQUAT AJUSTÁVEL
O nosso quinto ponto é talvez uma das características mais marcantes desta bicicleta: o seu sistema flip-chip para ajuste da resposta anti-squat. Este sistema foi um dos aspetos mais falados quando a bicicleta começou a aparecer com os logótipos escondidos, sendo utilizada pelos atletas da equipa no início desta temporada.

A patente da Canyon a este respeito já era conhecida, e podemos agora confirmar que o que esta bicicleta esconde na articulação principal da fixação do amortecedor é um flip chip que nos permite escolher entre duas posições, um pouco mais alto ou mais baixo.

A razão por detrás deste sistema reside na interação entre a pedalada e o sistema de amortecimento, que gera forças que, quando utilizadas corretamente, podem ajudar a evitar o afundamento durante a pedalada. Teoricamente, o objetivo é um efeito de força contrária, conhecido como anti-agachamento (anti-squat), que depende inteiramente da posição do pivô principal em relação à linha da corrente.

Este elemento, a linha da corrente, muda consoante o tamanho da cremalheira que escolhemos, e é por isso que a Canyon concebeu este flip-chip. Selecionamos uma posição ou outra consoante a cremalheira que estamos a utilizar. Existe uma posição concebida para cremalheiras de 34 dentes ou menos e outra para cremalheiras de 36 e 38 dentes, embora a Canyon incentive a experimentar outras combinações e a explorar o comportamento. Podemos preferir, por exemplo, uma maior independência do sistema de amortecimento e não nos importarmos com uma redução do efeito anti-squat. Ou vice-versa, podemos querer um anti-squat ainda mais pronunciado. Aliás, a Canyon disse-nos que alguns dos ciclistas da equipa preferem uma destas opções "intermédias".

Também queríamos testá-lo e, depois de andar com a posição teoricamente destinada à cremalheira de 34 dentes que a bicicleta que testámos tinha, tentámos colocar o pivot mais alto, alterando o flipchip para a posição das cremalheiras de 36 e 38 dentes, mas mantendo a cremalheira de 34 dentes montada, para ver como funcionava.


O utilizador pode fazer a alteração por conta própria, embora isso exija alguma habilidade, especialmente na primeira vez. Envolve a remoção do cranque direito, e é mais fácil se a bicicleta estiver num cavalete sem a roda traseira e após tirarmos todo o ar do amortecedor.
Com o flip-chip na posição elevada e a cremalheira de 34 dentes, notamos uma maior interação; o anti-squat aumenta. Há menos oscilação da bicicleta quando pedalamos em carga (potência), mas, por outro lado, há aquilo a que chamamos mais "contaminação" entre a pedalada e o sistema de amortecimento. Pessoalmente, preferimos a posição recomendada, a que vem de origem na bicicleta, mas é uma boa ideia experimentar.

O cenário oposto, que não pudemos testar, com uma posição baixa e cremalheiras de 36 ou 38 dentes, resultaria teoricamente em menos anti-squat e mais oscilação do corpo. De qualquer forma, este teste permitiu-nos verificar que o sistema é funcional e permitir-nos-á ajustar a resposta do amortecedor a diferentes tamanhos de cremalheira.
6. UMA BICICLETA VENCEDORA
O sexto motivo pelo qual estamos confiantes de que esta bicicleta será um sucesso de vendas é o seu historial e desempenho em competições. A versão anterior é uma das bicicletas mais bem-sucedidas da história recente do BTT, com campeonatos mundiais conquistados por ciclistas como Jenny Rissveds e Puck Pieterse, bem como inúmeras vitórias na Taça do Mundo.

Jenny Rissveds com a nova Lux

Sam Gaze e Luca Schwarzbauer na prova por etapas Cape Epic
Convém lembrar que a Lux World Cup é a bicicleta que Mathieu Van der Poel utiliza nas suas provas de BTT, e o modelo que está agora a ser apresentado foi desenvolvido para competição, e, ainda antes de chegar ao mercado, já tinha conquistado vitórias de prestígio na Cape Epic deste ano, três etapas, nada mais nada menos, com a dupla Sam Gaze e Luca Schwarzbauer.
7. OPÇÃO SHIMANO OU SRAM
Vamos ao motivo número 7. Seja qual for a tua preferência, SRAM e RockShox ou Shimano e Fox, existem configurações disponíveis. O modelo topo de gama, que é o mais leve de todos, com um peso declarado de 9,8 kg, vem com um grupo Shimano XTR completo, incluindo rodas, e suspensão Fox SL Factory, mas praticamente ao mesmo nível, existe uma montagem com SRAM XX SL e RockShox Ultimate.


Existem também montagens numa segunda gama de preços com Shimano Deore XT e SRAM X0, e a opção mais acessível vem com o SRAM Eagle 90 mecânico. Curiosamente, pelo menos para já, não existem modelos com componentes Flight Attendant, embora a equipa Canyon Collective utilize a suspensão inteligente da RockShox.
8. QUASE TUDO SEM FIOS
Relacionado com o que foi dito acima, temos o oitavo ponto: a maior parte da gama utiliza transmissão sem fios. E a única montagem com transmissão mecânica é muito fácil de atualizar, uma vez que a SRAM oferece um kit de atualização do Eagle 90 para o GX.

As outras quatro bicicletas possuem transmissões Shimano Di2 ou SRAM AXS, em ambos os casos com passagens de mudanças precisas e fiáveis, linhas limpas e todas as vantagens da tecnologia sem fios.
9. MARCAS DE PRESTÍGIO EM COMPONENTES
Continuando com a montagem, chegamos ao motivo número 9: marcas reconhecidas e de confiança na escolha dos componentes. A Canyon não arrisca neste aspeto e opta por marcas em que todos confiamos. Como já referimos, o modelo topo de gama utiliza rodas XTR, enquanto os restantes utilizam DT Swiss, incluindo as últimas atualizações da marca suíça, com um perfil assimétrico como o da XCR 1500 presente na bicicleta que testámos, a terceira da gama.

Outras marcas que vamos encontrar na gama são a Pirelli, Schwalbe, Ergon… ou componentes de fabrico próprio, como o excelente cockpit integrado que já conhecíamos da anterior Lux.

10. PREÇOS MUITO COMPETITIVOS
O argumento final é, normalmente, um dos mais decisivos na hora de escolher uma bicicleta. Com esta bicicleta, os preços são muito competitivos. Reiteramos que se trata do mesmo quadro com a melhor fibra de carbono, mais leve do que nunca, disponível numa bicicleta completa a partir de 3.599€.
Isto permite-nos começar com uma configuração inicial mais acessível e ir melhorando a bicicleta aos poucos, sabendo que já temos o quadro feito com a melhor fibra de carbono. Os modelos topo de gama, com os melhores componentes Shimano e SRAM, apresentam também preços muito atrativos, abaixo dos 7.200€. Há um total de cinco configurações disponíveis, três delas em duas cores e cinco tamanhos. Aqui estão os preços e os pesos oficiais.

LUX WORLD CUP CFR XTR Di2. 7.149 €. 9,82 kg

LUX WORLD CUP CFR XX SL AXS. 6.699 €.10,49 kg

LUX WORLD CUP CFR X0 AXS. 5.349 €.10,96 kg

LUX WORLD CUP CFR XT Di2. 4.499 €. 11,06 kg

LUX WORLD CUP CF9. 3.599 €. 11.50 kg
Poderás encontrar mais informações em Canyon.com.









